关于医疗设备采购意向公开及产品调研的公告
为便于供应商及时了解我院采购信息,以及增进我院对设备的技术发展情况和各个品牌的了解,现进行以下项目采购意向公开及产品市场调研。本项目的采购意向公开及产品调研是本单位采购工作的初步安排,并非医疗设备采购招标,具体采购项目情况以相关采购公告和采购文件为准。请有意向的公司按以下要求提交资料。
一、项目名称

二、参与产品调研的厂家或代理商请于医院网站公告日起5个工作日内将报名表、调研纸质版资料交设备科(可邮寄),电子版发送至sbk3282109@163.com。(邮件名称“设备名称+品牌+联系电话”)
三、报名表要求(格式自拟,内容含***报表名、包组号、设备名称、品牌、联系方式,需盖红章)
四、调研资料要求:(按顺序装订密封:正本含第一册公司资质资料及第二册产品资质资料共一份,正本需盖章。副本仅需第二册产品资质资料四份。)
第一册,公司资质资料:厂家及代理商的资质复印件(营业执照,医疗器械生产、经营许可证或备案证明)、厂家授权书,业务员授权书;落实国家采购相关政策,如产品生产商符合《政府采购促进中小企业发展管理办法》等政策,需提供的相关证明,如《中小企业声明函》等。
第二册,产品资质资料:包组(一)、(二):1、医疗器械产品注册证或备案证明,2、质保不少于2年的设备价格,主要配件、耗材报价(如有)。3、产品优势,产品参数与配置清单,4、同产品近期成交参考价(提供合同、发票复印件等);5、产品彩页;包组(三):1.分部分项工程项目设计图,2.分部分项工程项目清单、计价和项目总价,3.同类型项目近期成交参考价(提供合同、发票复印件等)。
联系地址:广东省阳江市江城区东山路42号阳江市人民医院设备科
联系人:林老师 0662-3282109
阳江市人民医院
2026年3月16日
附件:
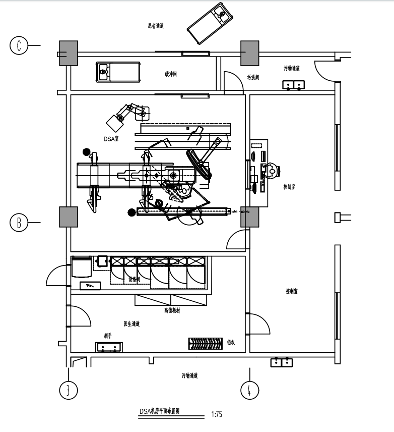
机房原平面图:

机房改造设计图:

| 感动 | 同情 | 无聊 | 愤怒 | 搞笑 | 难过 | 高兴 | 路过 |


粤公网安备: 44170202000182号